齒輪軸在機械設備當中具有著十分重要的作用,因此我們應該從多個方面來對齒輪軸的加工工藝進行優化和分析。通過對齒輪軸的加工材料選擇、表面化學處理、熱處理等措施進行具體的探討,并通過生產中的實踐來進行分析,從而研究出能夠優化齒輪軸加工質量和加工效率的加工工藝,更好地發揮出齒輪軸的作用。本文針對工程機械齒輪軸加工工藝進行分析,并提出具體的優化對策,希望能夠為相關工作人員起到一些參考作用。
在工程機械當中,齒輪軸的主要作用是對回轉零件起到支撐作用,從而使回轉運動能夠得以實現,并傳遞相應的轉矩和動力,其主要具有傳動效率高、結構緊湊以及使用壽命長等相關優點,在通用機械尤其是工程機械傳動當中,是十分重要的一種零件。現如今隨著我國拉動內需的啟動,基礎建設也將得到良好的發展,而工程機械需求和產量也都會不斷的提高。因此我們應對齒輪軸材料的選用、熱處理方式以及機械加工等進行有效的優化,從而提高齒輪軸的加工質量和加工效率,延長齒輪軸的使用壽命。
齒輪軸加工工藝分析及優化
零件結構分析:齒輪軸對精度具有較高的要求,需要在齒輪軸加工時注意相關問題。具體包括齒輪軸的材料基準熱處理、以及齒型加工等方面要進行正確的選擇和分析,從而確保能夠提 高齒輪軸的加工質量。以輸入齒輪軸為例,其外圓表面尺寸的公差多數都可以控制在±0.01mm以內,而表面的粗糙度, 則主要為Ra3.2~0.8μm,位置精度一般為尺寸精度數值的三分之一到五分之一,齒輪的精度等級則為7-5 級。加工前需要了解齒軸的各項技術要求和結構工藝性,按照圖紙要求的定位基準合理安排加工順序。
材料的選用:以減速機為例,常用的齒輪軸主要采用的材料具體包括合金鋼中的 42CrMo、20CrMnMo、20Cr2Ni4、17CrNiMo6 等。根據齒輪軸的不同用途和設計強度的不同,對其材料的選用以及熱處理的工藝要求也會存在著一定的差異。20CrMnMo、20Cr2Ni4、17CrNiMo6 等材料一般會采用調質后用磨前滾刀滾齒后采用滲碳淬火工藝然后磨齒成成品, 最終齒部硬度可以達到50-62HRC。
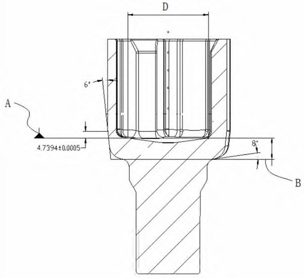
毛坯的選擇:在加工過程當中,由于對齒輪軸的機械強度具有較高的要求,而且其各個階梯直徑也具有較大的差別,因此為了能夠有效地減少材料消耗以及加工的勞動量,我們通常會選擇鍛件毛坯。以圖1的產品為例(M=9,Z=17),該產品要求使用 17CrNiMo6的電渣重熔材料。毛坯的原材料應使用精煉鋼,該鋼由轉爐冶煉,并在爐內鎮靜和真空脫氣處理,加上二次電渣重熔,嚴格控制 H、O、N 等氣體的增量。采用電渣重熔鋼錠,可以提高鋼的純凈度,明顯改善鋼的塑性及韌性,減少枝晶偏析,杜絕了疏松及縮孔的出現, 可明顯改善鋼的等向性。

圖 1 齒輪軸鍛件毛坯
該軸的鍛造工藝流程為:原料開坯→下料鋸切→加熱→鍛造→鍛后熱處理→ 機加工→探傷檢尺。該鍛件采用鍛前開坯的方式,過程中采用小十字交叉的變形方式,對原料進行拔長、鐓粗鍛造,使鍛造比大于6以上,可最大程度改善原料原始的成分不均勻、枝晶偏析等缺陷;成型鍛造使用小摔子,將小直徑拔長摔圓鍛出。使鍛件達到組織均勻、流線合理、變形比均勻的目的,提高了產品的等向性能。鍛后快速冷至300~400℃左右,裝電爐進行正火+高溫回火,以改善組織和機械加工性能。
預備熱處理及半精車:鍛坯在鍛打粗車干凈黑皮以后,需要進行調質處理, 調質處理就是指淬火加高溫回火的雙重熱處理方法,其目的是使工件具有良好的綜合機械性能。高溫回火是指在500-650℃之間進行回火。調質可以使鋼的性能,材質得到很大程度的調整,其強度、塑性和韌性都較好,具有良好的綜合機械性能。圖1產品為例,調質時采用正火加調質的預處理工藝, 加熱到在880℃溫度,然后保溫2.5小時,以油冷方式冷卻至室溫。然后以650℃進行回火處理,保溫5h,空冷至室溫。
預處理后硬度控制在 160~200HBS,下道工序進行半精車加工,半精車盡量選取較小的切削深度和進給量,而切削速度則可以取高點。精車要求切削深度要小,走刀量也要小, 半精車完畢后,不但工件的直徑幾何尺寸要合格,而且對表面的粗糙度要求也較高,而且也要合格。精車的加工精度可達 IT8~IT6 級,表面粗糙度Ra可達1.6~0.8μm。
齒部加工及精車:通常在機械設備當中,齒輪軸由于其精度不同,因此劃分為具體的級別。而插齒和滾齒可以有效的保證齒型所具有的精度,但二者相比滾齒的精度要更高,而且也具有更高的效率,因此對于外齒的齒輪軸,可以用滾齒機對其進行小批量的生產和大批量的生產。根據生產方式不同, 其加工程序也會有所不同,如圖1產品可以使用磨前滾刀進行滾齒處理,然后進行滲碳、淬火、精磨車、磨齒等加工 工序。而對于需要進行淬火處理的齒輪,需要在具體的淬火前將其精度提高。如圖2所示。

圖2 齒輪鍛件淬火(部分展示)
而花鍵則可以根據不同的形狀來將其具體的分為矩形花鍵和漸開線花鍵,通常后者在機械設備當中具有普遍的應用。精車時以齒輪軸兩端的頂尖孔來作為基準并對其進行精車外圓,如果想有效的提高加工效率和加工質量,可以在精車的過程當中采用數控車削的方法,從而來有效的提升加工效率并能夠確保齒輪軸弧面等特性的加工質量。
表面化學處理及熱處理的注意事項
在齒輪軸的加工過程當中,為了確保齒輪軸能夠正常使用,需要對其進行表面化學處理及熱處理工藝。如圖3所示。

圖3 齒輪熱處理(內淬火)
而在熱處理過程當中,我們首先要對溫度進行控制, 并明確自己的冷卻速度以及冷卻介質等相關的質量因素。而對齒輪軸的危險截面,即與齒寬對稱中心線成30度角的直線,與齒根圓角相切處,需要進行相應的強度檢測,除此之外還應對重要的齒輪軸參照國外同類零件的要求或 者是用戶協議等來對齒輪軸的齒心韌性和塑性進行檢測。齒輪軸的直徑位置應該位于齒寬對稱中心線與齒根圓相交處。在經過具體的熱處理后,其兩端的頂尖孔需要進行研磨處理,主要是對于其外圓表面和端面進行磨削,并以兩端的頂尖孔來作為精基準,確保滿足相關的加工要求。為了能夠對齒輪軸表面的輕度和韌性進行保證,通常需要對齒輪軸進行滲碳和淬火處理。以圖1產品為例,其滲氮層深度為2.1~2.5毫米。滲碳后對齒輪軸進行淬火處理,淬火后齒部的硬度可以達到58-62HRC。花鍵齒部、凹槽等一些局部部位不需要進行表面滲碳和淬火處理時,需要在其表面涂抹相應的防滲透料,防止這些位置在后續加工中硬度高,難以加工。
工藝路線
對于 20CrMnMo、20Cr2Ni4、17CrNiMo6等材料的齒輪軸,其生產工藝的具體步驟為下料、鍛造、粗車、正火調質、 半精車、滾齒,隨后進行滲氮和淬火,隨后精車、磨齒。在整個加工過程當中,我們需要注意由于加工的工序較為復雜和繁多,因此需要對加工過程進行精細化處理。隨著科學技術水平的不斷提升,對齒輪軸的加工工藝也在進行著優化和改進,并在具體的生產實踐當中不斷的進行著摸索和完善,從而有效的提高齒輪軸的加工質量和加工效率,延長齒輪軸的使用壽命,確保能夠生產出優質的齒輪軸,從而使機械設備能夠更好的進行生產任務,提高自身的生成量。
綜上所述,通過對齒輪軸的工藝進行分析,并根據對照產品裝備圖來分析了齒輪軸,對其性能、用途和具體的工作條件等進行了解,明確了該零件在產品當中的具體作用和主要位置。通過對齒輪軸以及各項技術條件進行制定的依據,從而發現技術的相關要求和關鍵技術,這樣可以在對工藝進行優化的過程中更好地擬定工藝規程,從而提高齒輪軸的加工質量。具體來說,通過對齒輪軸加工材料的合理選擇、科學合理的表面化學處理以及熱處理,并優化切削加工工藝等對策,使其在具體的生產實踐當中能夠得到有效的應用,全面提高齒輪軸的加工質量和加工效率,延長齒輪軸的使用壽命。
iHF合發齒輪加工廠家,20多年初心不改,堅持精密齒輪、齒條、齒輪軸、同步帶輪加工定制生產。產品精度高、價格低、交期快,如果您有這方面需求,歡迎聯系我們。
免責聲明:本文系網絡轉載,版權歸原作者所有。如涉及版權問題,請與齒輪傳動聯系,我們將第一時間協商版權問題或刪除內容。